Ideal para el contratista general
# 1 Venta de plataforma en los Estados Unidos
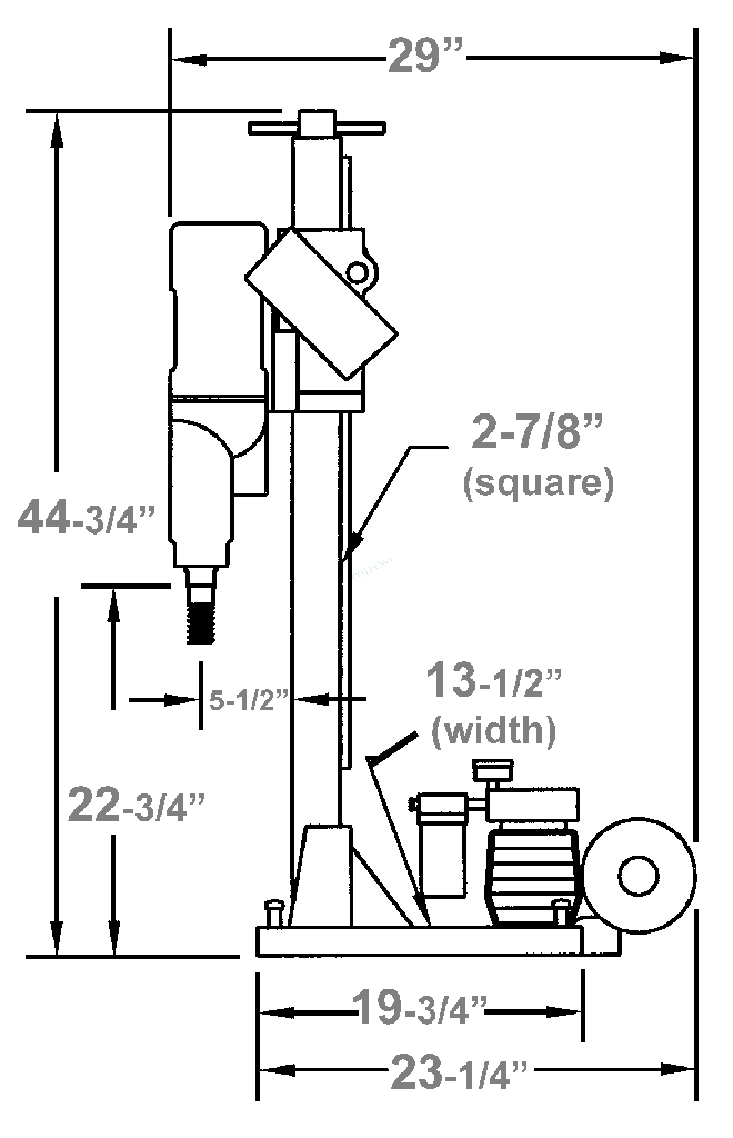
Capacidad de broca estándar de 10", 14" w / espaciadores (Weka, Milwaukee)
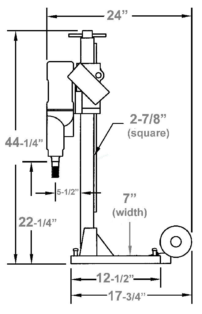
Capacidad de bits estándar de 14" (CB733, CB744)
Características y beneficios:
- Columna cuadrada de 2-1 / 2 "(mástil) con acabado oxidado negro
- Ruedas de 6 "para una fácil movilidad.
- Panel de control de interruptor / salida doble con amperímetro (excepto los modelos CB700 con amperímetro LED)
- Bomba de vacío para un montaje rápido en una superficie plana sin perforar un orificio de anclaje (incluido con la plataforma de combinación)
- 4 tornillos niveladores en la base
- Capacidad de bits de hasta 14 "con un bloque espaciador
- El mango deslizante permite perforar en áreas estrechas
- La base combinada es un cambio rápido de vacío a base de anclaje
- El gato de techo ayuda a mantener la plataforma en su lugar como respaldo para anclar o aspirar la base (se usa con una pieza de refuerzo de 2 x 4 u otro material)
