Capacidad de broca estándar de 6", 3" (de mano)
Le permite retirar el motor para usar en aplicaciones de mano
Características y beneficios:
- Panel de control de salida de un solo interruptor con amperímetro (excepto los modelos CB700 con amperímetro LED)
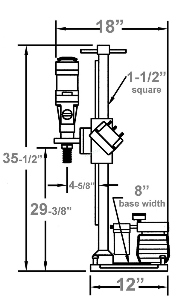
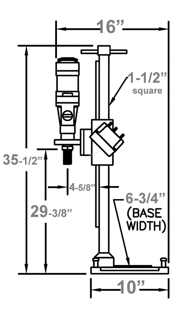
- Columna cuadrada de 1-1 / 2 "(mástil) con acabado oxidado negro
- La base giratoria y el mástil pueden girar 360 ° para perforar fácilmente en escaleras
- 4 tornillos niveladores en la base • Juego de ruedas en modelos de anclaje
- Ligero y económico.
- El mango deslizante permite perforar en áreas estrechas
- Tamaño compacto para áreas de perforación difíciles de alcanzar
- El gato de techo ayuda a mantener la plataforma en su lugar como respaldo para anclar o aspirar la base (se usa con una pieza de refuerzo de 2x4 u otro material)
- Los modelos Weka permiten que el motor se desmonte y se use con la mano.
